Kawasaki: il futuro è in un nuovo cambio automatico?

Una notizia decisamente importante arriva dal Giappone e riguarda il mondo delle due ruote: Kawasaki avrebbe depositato il brevetto per un nuovo sistema che permette di cambiare le marce della propria moto non più col piede ma direttamente dal manubrio, come se si avesse a disposizione un cambio automatico.

Kawasaki studia il passaggio al cambio automatico

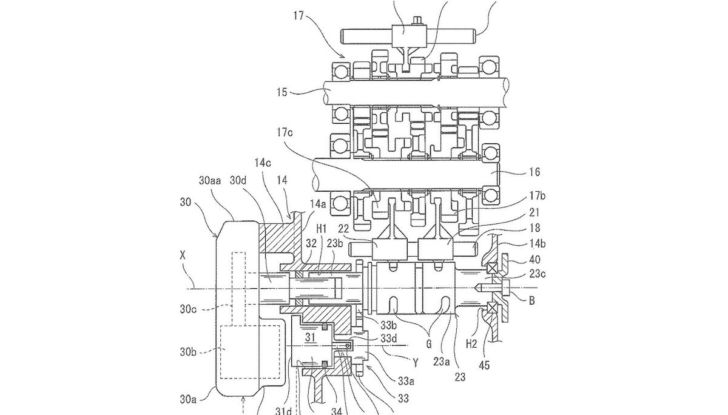
Secondo quanto riferito da cycleworld.com, questo tipo di brevetto riguarda un nuovo sistema elettronico di gestione del cambio che consentirebbe di eliminare il classico comando a pedale e sostituirlo con dei pulsanti posti sul manubrio, in prossimità di una delle due manopole. Il brevetto, allo studio dei tecnici di Kawasaki da diversi anni (pare che il deposito sia avvenuto nel 2019), sarebbe stato sviluppato su una Z1000SX precedente al 2019, ma sarebbe applicabile a numerosissimi altri modelli. Le immagini, tra l’altro, mostrano una moto senza la leva della frizione e questo indicherebbe il passaggio a un sistema automatico e gestito elettronicamente.

Non si tratterebbe, in sostanza, di una replica di sistema quickshifter o a doppia frizione, ma di qualcosa di ancora più semplice per facilitare ulteriormente l’utilizzo delle moto made in Japan evitando, ad esempio, fuorigiri e cambi di marcia sbagliati, mentre sui modelli più sportivi garantirebbe cambiate ancora più rapide, anche se questo tipo di soluzione sembra sposarsi perfettamente con tourer o adventure, nate per macinare chilometri.

LISTINO E OFFERTE SPECIALI

Sponsor

Nuovo Sportage Tri-Fuel
Nuovo Sportage Tri-Fuel
OFFERTA Full-Hybrid, un’anima GPL e oltre 1500 km senza compromessi
Kia
Kia Ceed Berlina
SEGMENTO berlina
PREZZO a partire da 37.100€
Kia
Kia Ceed Station
SEGMENTO station wagon
PREZZO a partire da 30.100€
ARTICOLI CORRELATI
Articoli più letti
Le migliori offerte del mese
Sponsor